Description
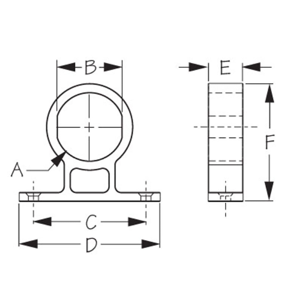
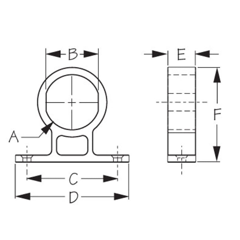
Round Power Socket/Gauge Mounting Bracket
This round power socket/meter mounting bracket is designed for the external mounting of round power sockets and gauges 1-1/8" in diameter.
Features:
- Fits all Sea-Dog® round power sockets, gauges, and meters
- Constructed of injection-molded nylon
- Installs with two #8 FH fasteners (not included)
WARNING: This product can expose you to chemicals which are known to the State of California to cause cancer, birth defects or other reproductive harm. For more information go to P65Warnings.ca.gov.
Specifications:
- Type: Mounting Brackets
- Box Dimensions: 2"H x 3"W x 5"L WT: 0.05 lbs
- UPC: 035514428736
Payment & Security
Your payment information is processed securely. We do not store credit card details nor have access to your credit card information.
